Закладные детали МН, ММ, ЗД: Производство и поставка от производителя в Екатеринбурге.
Ищете надежного производителя закладных деталей МН, ММ, ЗД для вашего строительного проекта? Мы – ваш прямой поставщик! Наша компания специализируется на изготовлении закладных деталей из металла, обеспечивая высокое качество и соответствие всем строительным нормам и требованиям.
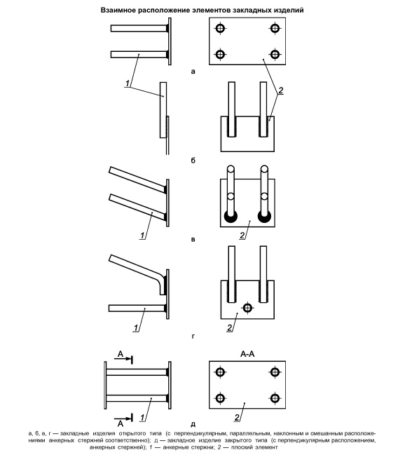
Мы предлагаем широкий ассортимент металлических закладных деталей, включая МН (монтажные закладные), ММ (монолитные закладные) и ЗД (закладные детали) различной конфигурации и размеров. Изготавливаем закладные детали по типовым проектам и индивидуальным чертежам заказчика. У нас вы можете заказать закладные детали для железобетонных конструкций ЖБИ
Почему выбирают нас?
- Производство закладных деталей полного цикла.
- Выгодные цены от производителя.
- Оперативное выполнение заказов.
- Гарантия качества на всю продукцию.
Закажите металлические закладные детали МН, ММ, ЗД напрямую от производителя и получите оптимальное решение для вашего строительства! Свяжитесь с нами прямо сейчас для получения консультации и расчета стоимости.

У нас вы можете заказать и купить закладные детали для строительства по выгодным ценам в Екатеринбурге